Ikhathalogu kaKarnar >>>> buka ku-intanethi   landa .zip Sicela ukhethe iseva esheshayo ukuvakashela iwebhusayithi yethu!vakashela iseva yethu yesiNgisi!vakashela iseva yethu yama-Chinese!


Ukukhanya kwe-washer kwe-LED ukukhanya
Buka amanye amamodeli >>
1.
2.
3.
4.
5.
6.
7.
8. 26W 48W I-IP20 DMX RGB Elingqayizivele noma i-LWW-3 ye-LED yeshashala
9.
10.

26W 48W I-IP20 DMX RGB Elingqayizivele noma i-LWW-3 ye-LED yeshashala. UKUHLAWULA KWEZINDAWO ZAMANZI. Ibanga elisha elithakazelisayo kwi-Festive Lights ngomthelela wangempela yi-LED Wall Washer uchungechunge, ukudala isimo sengqondo esibucayi, ukunikeza ukukhanyisa kwesizinda esihle. Ingasetshenziswa futhi phezu kwendawo emincane kunomthelela omkhulu, ikakhulukazi lapho kusetshenziselwa amaningana ndawonye noma ukumboza izindawo ezinkulu ngomthelela oqinile. I-LED Yethu Yama-Wall Washers isetshenziselwa ukuhlobisa futhi igcizelela isakhiwo noma ingadi. Ububanzi bethu buhlanganisa umbala wokushintsha ama-washers odala imibala eminingi, njengokukhanya, ukufiphala noma okuyi-static.Ingasebenza kumodi emele nemodi ye-DMX, engakwazi ukudala imiphumela ehlukahlukene yokuguqula umbala, njengokungena ukukhanya, ukukhula, ukuqina, ukukhanya kwembala eyisikhombisa, nokunye okufanayo I-DMX 256 yegrey degree degree dimmer, i-DMX ehlelekile (izinkulungwane zemiphumela etholakalayo uma izibani eziningi zixhunyaniswa ndawonye). Imodi yokulawula yesikhanyiso: Imodi yokuzimela / I-Master / I-Slave mode / DMX / RGB noma i-Steady( 26W 48W I-IP20 DMX RGB Elingqayizivele noma i-LWW-3 ye-LED yeshashala )

26W 48W I-IP20 DMX RGB Elingqayizivele noma i-LWW-3 ye-LED yeshashala

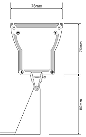
A:Structure and Specification:
Size: L500 (1000)*W76*H 163mm
Material of Shell: aluminum alloy
Weight: 2.5kgs( 500mm ), 4kgs( 1000mm )
Rotary angle: 180°
B:Technical Parameters
Input Voltage : 100V~256V AC
Operating Voltage : 24V DC
Protection Rating : IP20
Operating Temperature : -20°C ~40°C
ITEM NO.
LED Quantity
Color
Current
Power Consumption
Length
LWW-4-12P
12 Power LED
R-4, G-4, B-4
0.12A(Max.)
26.4 Watts
500mm
LWW-4-24P
24 Power LED
R-8, G-8, B-8
0.22A(Max.)
48.4 Watts
1000mm

Ukukhanya kwe-washer kwe-LED ukukhanya
IKARNAR INTERNATIONAL GROUP LTD
structure


Ukukhanya kwe-washer kwe-LED ukukhanya
IKARNAR INTERNATIONAL GROUP LTD
LWW-4-12P
Ukukhanya kwe-washer kwe-LED ukukhanya
IKARNAR INTERNATIONAL GROUP LTD
LWW-4-24P

26W 48W I-IP20 DMX RGB Elingqayizivele noma i-LWW-3 ye-LED yeshashala

Buka amanye amamodeli >>
1.
2.
3.
4.
5.
6.
7.
8. 26W 48W I-IP20 DMX RGB Elingqayizivele noma i-LWW-3 ye-LED yeshashala
9.
10.


 
Ukukhanya kwezokuhweba kwe-LED
   Ukukhanya kwe-washer kwe-LED ukukhanya
   Ukukhanya kwezikhukhula ze-LED
   Ukukhanya kwe-pannel LED
   Ukukhanya kwe-strip LED
   Ukukhanya kwe-LED phansi
   Ukukhanya kwelanga lokukhanya
   Ukukhanya kwegqila kwe-LED
   I-tube neon LED
   Ukukhanya kwe-LED komhlaba
   Isibani se-LED
Ukukhanya kweholidini ye-LED
   Ukukhanya kwezintambo ze-LED
   Ukukhanya kwekhalenda ye-LED
   Ukukhanya kwe-LED net
   Ukukhanya kwe-LED icicle
   Ukukhanya kwetiphu okukhanyisiwe kwe-LED
   Ukukhanya kwekhebula le-raber LED
Ukukhanya kwangempela kwe-LED ukukhanya
   I-LED yekhanda lokukhanya kwesikhokhamba
   Ukukhanya kwe-cherry LED
   I-LED yesicocon palm tree ukukhanya
Izesekeli
   Umlawuli
   Ipulagi yamandla
   Ukunikezwa kwamandla kagesi
Ukupakisha
Isitifiketi somkhiqizo
   I-Brand ne-patent
   Isitifiketi
 

Karnar in Globalsources.com

Karnar in youtube

Sisekela ngezansi ukuthunyelwa

ngomoya, olwandle

Shipment by UPS ! Shipment by DHL !

Shipment by TNT ! Shipment by EMS !



Sisekela ngezansi kokukhokha

Ukudlisa imali ngebhange

Pay by Western union !

Pay by Paypal, credit card !


   
 
 
©2005-2018 Karnar   Xhumana nathi   Imephu yesayithi  Last modified: February 06 2026 03:46:32.

shqiptar   العربية   አማርኛ   Azərbaycan   Gaeilge   Eesti keel   Euskal   беларускі   български   Íslensku   Polski   Bosanski   فارسی   Burry (Afrikaans)   dansk   Deutsche Sprache   Русский язык   Français   Filipino   suomalainen   Frysk   ភាសាខ្មែរ   ქართული   ગુજરાતી   Қазақша   Kreyòl Ayisyen   한국어   Hausa   Nederlands   Кыргыз тили   Galego   Català   Česky   ಕನ್ನಡ   Corsa   hrvatski   Kurdî   Latine   Latviešu   ລາວ   Lietuviškai   Lëtzebuergesch   românesc   Malagasy   Malti   मराठी   മലയാളം   Melayu   Македонски   Maori   Монгол хэл   বাংলা ভাষার   မြန်မာ   Miao   IsiXhosa saseMzantsi Afrika   I-South African Zulu   नेपाली   norsk språk   ਪੰਜਾਬੀ   Português   پښتو   Chichewa   日本語   svenska   Samoa   Српски   Sesotho   සිංහල   Esperanto   slovenského jazyk   Slovenščina   Kiswahili   Gàidhlig na h-Alba   Sugbo   Somali   Тоҷикӣ   తెలుగు   தமிழ் மொழி   ไทย   Türk dili   Cymraeg   اردو   Українська   O'zbek   Español   עברית   Ελληνικά   Hawaiian   سنڌي   magyar   Shinra   Հայերեն   Asụsụ Ibo   lingua italiana   ייִדיש   हिन्दी   Sunda Indonesian   Bahasa indonesia   Wong Jawa   Yorùbá   Người việt nam   中文(繁體)   中文(简体)